Abschlußarbeiten und -prüfungen
Maßnahmen bei der Ausbildung des beim Einziehen überdehnten Inliners im Gerinnebereich des Schachtes [Holst84]
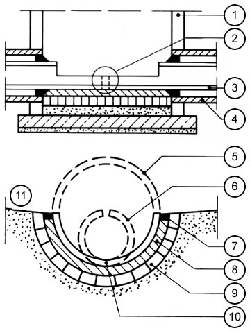
Die Abschlußarbeiten umfassen neben den abschließenden Prüfungen auch (Image 5.3.2.2.1.1.5-1) :
- Schachtanbindung
- Anpassung des Inliners an das Schachtgerinne
- Wiederherstellung der Einbindung von Anschlußkanälen.
Nach [ATVM143-5:1998] muß ein dichter und hydraulisch günstiger Übergang vom Inliner auf die Schachtwand und das Gerinne hergestellt werden.
Diese Schachtanbindung kann bereits im Rahmen des Ringraumabschlusses mit den dort beschriebenen Maßnahmen erfolgen.
In der Regel werden von den Verfahrensanbietern entsprechende konstruktive Lösungen vorgeschlagen, auf die z.T. später näher eingegangen wird.
Führt der Inliner durch einen Schacht hindurch, so ist eine Angleichung zwischen der Sohle und dem vorhandenen Schachtgerinne fachgerecht auszuführen [ATVM143-5:1998] .
Im Falle von Freispiegelleitungen außerhalb von Wasserschutzgebieten wird der Inliner im Gerinnebereich halbschalenförmig aufgeschnitten und hinterfüllt. Die Randbereiche werden mit elastischen Dichtmitteln abgedichtet.
Wurden beim Einziehen des Inliners zu hohe Zugkräfte aufgebracht, kann sich beim Aufschneidevorgang die verbleibende Halbschale aufgrund der Querkontraktion nach innen verformen. In diesem Fall müssen der Inliner im Schacht mittig durchtrennt und der sich bildende Spalt abgedichtet werden (Image 5.3.2.2.1.1.5-1) .
