Vergleich zwischen der FEM und analytischen Lösungen
Die Theorien von Glock und Timoshenko stellen die Grenzfälle des Beulversagens von Kreisquerschnitten dar. Aus ihnen ergibt sich
für das freie Rohr nach Timoshenko:
für das Rohr-im Rohr-System nach Glock:
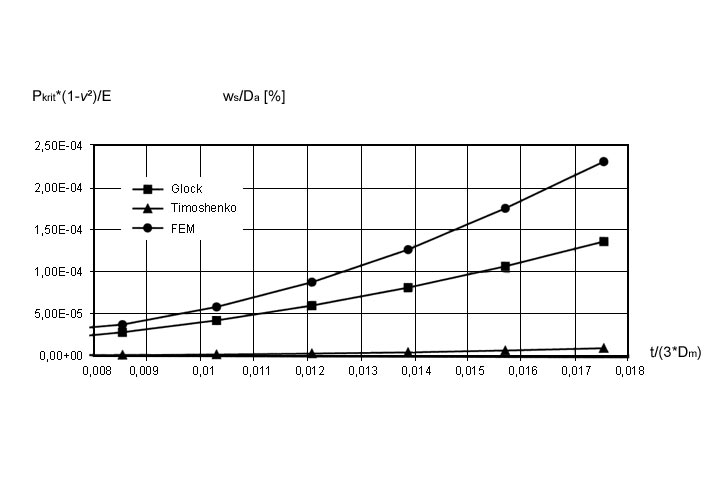
Beim Vergleich der von Glock für das Rohr-im-Rohr-System berechneten Beullastwerte mit denen aus der FEM-Berechnung ermittelten Maximallasten ist zu erkennen, daß sich die Kurven bei kleineren Verhältnissen t/Dm sehr gut annähern (Image 5.3.2.6.1.4-1) . Die kritische Last steigt jedoch ab ca. t/Dm = 3% in der FEM-Berechnung stärker an als dies nach der Theorie Glocks zu erwarten ist, da das gesamte Vorbeulverhalten vollständig erfaßt wird.
Die Übertragung des theoretischen Ansatzes nach Glock zur Beschreibung des kritischen Beuldruckes des Kreisquerschnittes auf den Fall des Versagens eines Eiquerschnittes durch Verwendung dessen maximalen Krümmungsradius im Kämpferbereich wird im (Image 5.3.2.6.1.4-2) veranschaulicht. Die nach der Lösung von Glock ermittelten Werte liegen beim System ohne Spalt für kleine Wanddicken um 24% und für größere Wanddicken um 41% unter den FEM-Ergebnissen. Die Tragfähigkeit der Rohre wird unterschätzt, so daß eine Überdimensionierung des Rohrquerschnittes die Folge sein kann. Eine nichtlineare FEM-Berechnung ist daher stets vorzuziehen.
Image 5.3.2.6.1.4-1:
Vergleich der Ergebnisse aus FEM-Berechnungen mit der analytischen Lösung (5-14) (Image) nach Glock (Kreisquerschnitt ohne Spalt) |
