Schächte
Zu den Bauwerken der Ortsentwässerung gehören nach ATV-A 241 [ATVA2411:1978] neben den Schächten auch Bauwerke zur Überwindung von Höhenunterschieden, Inspektionsöffnungen, Kreuzungsbauwerke, Regenüberlaufbauwerke, Einlaufbauwerke (Straßenabläufe) und Auslauf- sowie Schieberbauwerke (Image 1.8-1) .
Den größten Anteil an den Bauwerken der Ortsentwässerung nehmen die Schächte nach DIN 19549 [DIN19549] ein. Aus diesem Grund werden nachfolgend diese, aber auch die neuerdings wieder stärker in Erscheinung tretenden Inspektionsöffnungen behandelt.
Anforderungen und Prüfungen sowie Regelvorschläge für Planung und Ausführung von Schächten für erdverlegte Abwasserleitungen und -kanäle enthalten ATV-A 241 [ATVA2411:1978] , DIN 4034 [DIN4034-1:1993] und DIN 19549 [DIN19549] sowie der Entwurf der DIN EN 1917 [DINEN1917] vom August 1995, welcher die Teile 1 und 2 der DIN 4034 teilweise ersetzen soll, und in der wieder der lange Zeit übliche Begriff Einsteigschacht verwendet wird. Zusätzlich gelten die einschlägigen Werkstoff- und Bauteilnormen.
Gemäß DIN 19549 [DIN19549] versteht man unter dem Begriff "Schacht" ein Bauwerk für erdverlegte Abwasserleitungen und -kanäle, welches insbesondere der Be- und Entlüftung, Kontrolle, Wartung und Reinigung, gegebenenfalls der Aufnahme von Anlagen zur Hebung von Abwasser, der Zusammenführung sowie zu Richtungs-, Neigungs- und Querschnittsänderungen von Kanälen dient (weitere Definitionen (Abschnitt 1.2) ).
Darüber hinaus wurden in der Vergangenheit auch sogenannte Spülschächte gebaut, in denen Abwasser oder auch Frischwasser aufgestaut und schlagartig freigegeben wird (Abschnitt 3.2.1) .
Der gegenseitige Abstand der Schächte wird von den o.g. Aufgaben bestimmt. Er sollte nach ATV-A 241, Ausgabe 1978 [ATVA2411:1978] bei Kanälen
< DN 1200 50 m bis 70 m und
> DN 1200 70 m bis 100 m
nicht überschreiten.
In der neuesten Ausgabe des ATV-A 241 aus dem Jahre 1995 [ATVA2411:1978] wird gefordert, daß der Schachtabstand bei Kanälen aller Dimensionen in der Regel 100 m nicht überschreiten soll.
Gemauerte Einsteigschächte der Kanalisation von Berlin um 1884 [Hobre84]
Bei nichtbegehbaren Transportsammlern können größere Schachtabstände gewählt werden, wenn den betrieblichen Belangen auf andere Weise, wie z. B. durch Inspektionsöffnungen, entsprochen wird.
Früher wurden teilweise größere Abstände zugelassen. So werden z.B. in [Braub25] Abstände bei nichtbegehbaren Kanälen von 60 m bis 120 m und bei begehbaren von 150 m bis 200 m angegeben.
Schächte wurden früher vornehmlich gemauert (Image 1.8-1), in Ortbeton oder aus Fertigteilen aus Beton und Stahlbeton hergestellt.
Den Stand der Technik der heute vornehmlich eingesetzten, vorgefertigten Schächte bzw. Schachtfertigteile aus Beton und Stahlbeton dokumentiert die DIN 4034 Teil 1 [DIN4034-1:1993] . Auf europäischer Ebene ist die CEN-N 393E [CENN393] zu beachten, deren Anwendungsbereich sich auf Schächte bzw. Schachtfertigteile mit Kreis- oder Rechteckquerschnitt erstreckt.
In den (Image 1.8-2) und (Image 1.8-3) sind beispielhaft verschiedene Fertigteilschächte mit den Bezeichnungen der Einzelelemente dargestellt.
Image 1.8-2:
Prinzipskizze eines Schachtes mit vorgefertigtem Schachtunterteil und Schachtringen in Anlehnung an [DIN19549] [Quelle: STEIN Ingenieure GmbH] |
Image 1.8-3:
Prinzipskizze eines Schachtes mit vor Ort hergestelltem Schachtunterteil in Anlehnung an [DIN19549] [Quelle: STEIN Ingenieure GmbH] |
Anstelle einzelner Fertigteile können Schächte auch monolithisch als ein Bauteil hergestellt werden.
Bei Schächten für Abwasserleitungen und -kanäle mit Nennweiten ≥ DN 700 können die Schachtunterteile auch seitlich an Rohren nach DIN 4032 [DIN4032:1981/59] oder DIN 4035 [DIN4035] angeformt werden (Image 1.8-4) (Image 1.8-5) (Image 1.8-6) .
Image 1.8-4:
Schächte mit seitlich angeordnetem Einstieg - Tangentialschacht mit einseitigem Auftritt [ATVA2411:1978] |
Image 1.8-5:
Schächte mit seitlich angeordnetem Einstieg - Tangentialschacht ohne Auftritt (Regen- oder Entlastungskanäle) [ATVA2411:1978] |
Image 1.8-6:
Schächte mit seitlich angeordnetem Einstieg - Tangentialschacht mit Richtungsänderung [FI-FBS] |
Die Schachtunterteile (Image 1.8-7) werden bei Bedarf mit einem Korrosionsschutz z.B. aus Kanalklinkern (Image 1.8-8) oder Kunststoffen versehen.
Image 1.8-7:
Betonschachtunterteil [FI-Westr] |
Image 1.8-8:
Betonschachtunterteil mit Klinkergerinne [FI-Hupfe] |
Image 1.8-9:
Schachtunterteile aus Steinzeug [FI-Stein] |
Neben den Schächten aus Beton- und Stahlbetonfertigteilen werden seit einigen Jahren auch Schächte aus anderen Werkstoffen z.B. aus Steinzeug (Image 1.8-9) (Image 1.8-10) (Image 1.8-11) , Faserzement oder Kunststoffen (Image 1.8-12) oder Kombinationen verschiedener Werkstoffe (Image 1.8-13) eingesetzt. Darüber hinaus werden Schächte nach wie vor auch örtlich aus Mauerwerk hergestellt.
Image 1.8-10:
Schnitt durch einen Komplettschacht aus Steinzeug mit geschlossener Rohrdurchführung [FI-Stein] |
Image 1.8-11:
Schnitt durch einen Komplettschacht aus Steinzeug mit offener Rohrdurchführung [FI-Stein] |
Image 1.8-12:
Schacht aus PE-HD (DN 3000, H = 6000 mm) [FI-Kunstb] |
Image 1.8-13:
Schnitt durch einen kombinierten Schacht aus Beton- und Steinzeugelementen [FI-Stein] |
Nach ATV-A 241 [ATVA2411:1978] müssen gemauerte Bauwerke aus Kanalklinkern mit niedrigem Porengehalt (DIN 4051 [DIN4051:1976] , DIN 105 [DIN105:1989] ) mindestens 24 cm (ein Stein) dick vollfugig hergestellt und innen verfugt werden (Mörtelgruppe III mit Zusatzmittel). Die Fugen sind außen glatt abzustreichen. Zusätzlich sind ein zwei cm dicker Außenputz und ein mindestens zweifacher Sperranstrich vorzusehen.
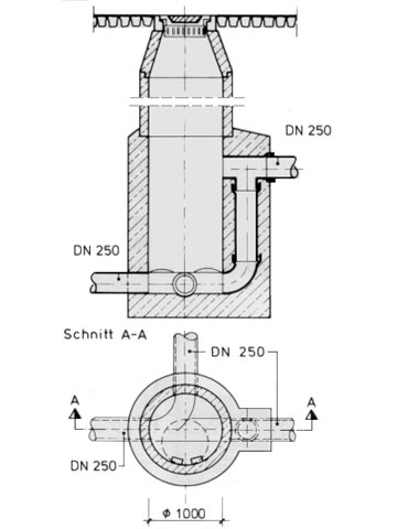
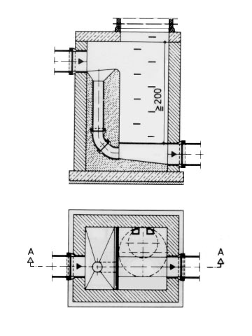
Eine Sonderform der Schächte stellen die Absturzbauwerke zur Ausgleichung größerer Differenzen zwischen Straßengefälle und maximalem Leitungsgefälle dar. Beispiele der wichtigsten Varianten zeigen (Image 1.8-14) , (Image 1.8-15) .
Bezüglich der Schachtabmessungen gilt nach DIN 19549 [DIN19549] :
"Besteigbare Schächte müssen bei kreisförmigen Querschnitten eine Mindestnennweite von DN 1000 haben. Die Verwendung von Schachtringen mit 800 mm Durchmesser ist zulässig, wenn darunter ein Arbeitsraum von mindestens 1200 mm Durchmesser und 2000 mm Höhe vorhanden ist. Bei rechteckigen Querschnitten müssen die Mindestmaße 800 mm x 1000 mm, bei quadratischen Querschnitten 900 mm x 900 mm betragen".
Nach ATV-A 241, Ausgabe 1995 [ATVA2411:1978] beträgt die Mindestbreite bei viereckigen Schächten 1,0 m. Bei runden Schachtunterteilen darf der lichte Durchmesser nicht kleiner als 1,0 m sein. Aus betrieblichen Gründen ist ein Durchmesser von 1,20 m anzustreben.
Den oberen Abschluß eines Schachtes bildet die Schachtabdeckung (Image 1.8-16) . Sie besteht aus Rahmen, Schmutzfänger und Deckel.
Image 1.8-14:
Absturzbauwerke - Innenliegender Untersturz ATV-A 241 [ATVA2411:1978] |
Image 1.8-15:
Absturzbauwerke - Außenliegender Untersturz ATV-A 241 [ATVA2411:1978] |
Image 1.8-16:
Schnitt durch eine Schachtabdeckung in Anlehnung an DIN EN 124 [DINEN124:1994] bzw. DIN 19549 [DIN19549]. [Quelle: visaplan GmbH] |
Bezüglich der Größe der lichten Weite der Schachtabdeckungen gab es im vergangenen Jahrhundert unterschiedliche Anforderungen. Veröffentlichungen aus den Jahren 1896 und 1925 geben für kreisförmige Einsteigöffnungen lichte Abmessungen von 556 mm [Hobre84] und 600 mm bis 700 mm [Braub25] sowie für rechteckige von 556 mm x 556 mm [Hobre84] und 800 mm x 1000 mm an [Braub25] .
Nach DIN EN 124 [DINEN124:1994] wird hierfür üblicherweise ein Mindestdurchmesser von 600 mm für erforderlich gehalten.
Alle Teile eines Schachtes, einschließlich seiner Verbindungen, müssen gemäß DIN 19549 [DIN19549] und DIN 19550 [DIN19550] gegen inneren und äußeren Wasserüberdruck von 0 bar bis 0,5 bar unter den zwischen ihnen und ihrer Umgebung möglichen Wechselwirkungen dauernd wasserdicht sein.
Verbindungen von Schachtringen aus Beton wurden jahrzehntelang ausschließlich mit Zementmörtel abgedichtet (Image 1.8-17) . Seit der Einführung von plastischen Dichtmitteln und Elastomerdichtringen wurden und werden auch diese im vorliegenden Anwendungsfall eingesetzt (Image 1.8-18) .
Image 1.8-17:
Dichtung von Schachtringen mit plastischen Dichtmitteln (im Grundwasser) in Anlehnung an [ATVA2411:1978] [Quelle: STEIN Ingenieure GmbH] |
Image 1.8-18:
Dichtung von Schachtringen mit Zementmörtel (über dem Grundwasser) in Anlehnung an [ATVA2411:1978] [Quelle: STEIN Ingenieure GmbH] |
Im ATV-A 241, Ausgabe 1978 [ATVA2411:1978] wurden unter der Bedingung, daß die Verbindungen der Schachtfertigteile auch vertikale Belastungen übertragen müssen, noch folgende Dichtmittel zugelassen:
Plastische Dichtmittel
Die verwendeten Bänder und Kitte müssen DIN 4062 [DIN4062:1978] entsprechen. Sie müssen über ausreichendes Standvermögen verfügen. Bei der Verarbeitung sind die evtl. erforderlichen Voranstriche an den Dichtflächen aufzubringen. Die Montage der Schachtringe muß mittels Abstandhaltern erfolgen, z.B. durch Vermörteln der Außen- und Innenfugen.
Zementmörteldichtung
Diese Dichtung kann verwendet werden, wenn kein Grundwasser ansteht und keine besonderen Anforderungen an die Dichtheit gestellt werden (dies gilt nicht für Spezialmörtel mit besonderen Eigenschaften). Der verwendete Zementmörtel soll DIN 1045 [DIN1045:1988] , Abschnitt 6.7.1 entsprechen. Vor Aufbringen des Zementmörtels sind die Dichtflächen anzunässen.
Dichtung mit Bitumenbinder
Bei Schächten im Grundwasser kann zusätzlich zur Fugendichtung eine stoßüberdeckende Abdichtung von außen unter Verwendung entsprechender Voranstriche ausgeführt werden.
Elastische Dichtmittel
Elastische Dichtmittel sind einsetzbar bei Fertigteilen mit entsprechender Ausbildung der Verbindungselemente. Die Bemessung der Dichtmittel erfolgt unter Berücksichtigung der vorhandenen Abmaße in Anlehnung an DIN 4060 [DIN4060:1988] .
Das ATV-A 241, Ausgabe 1995 [ATVA2411:1978] und die DIN 4034 [DIN4034-1:1993] lassen die Verwendung plastischer Dichtmittel gemäß DIN 4062 [DIN4062:1978] für die Abdichtung von Schachtfertigteilen nicht mehr zu. Sie schreiben in diesem Fall die ausschließliche Abdichtung der Fugen mit Dichtmitteln aus Elastomeren nach DIN 4060 [DIN4060:1988] (teilweise ersetzt durch DIN EN 681 [DINEN681-1:1996] ) vor.
Durchgesetzt haben sich Roll- und Gleitringdichtungen. Derartig abgedichtete Schachtfertigteile besitzen entweder Falzmuffen- oder Glockenmuffenverbindungen (Image 1.8-19) (Image 1.8-20) .
Image 1.8-19:
Dichtung von Schachtringen mit Rollring in Anlehnung an [Röhl77]. [Quelle: visaplan GmbH] |
Image 1.8-20:
Dichtung von Schachtringen mit Gleitring in Anlehnung an [Röhl77][Quelle: visaplan GmbH] |
Neuartige Verbindungssysteme zielen darauf ab, die lastübertragende und lastverteilende Funktion nicht mehr einer Zementmörtelschicht, sondern z.B. einem speziellen (Image 1.8-21) (Image 1.8-22) oder einem mit einer Elastomerdichtung kombinierten Lastübertragungsring zu übertragen (Image 1.8-23) (Image 1.8-24) (Image 1.8-25) .
Image 1.8-21:
Dichtung von Schachtringen mit selbstschmierender Gleitringdichtung und Lastübertragungselement in Anlehnung an [FI-Forsh] [Quelle: STEIN Ingenieure GmbH] |
Image 1.8-22:
Dichtung von Schachtringen mit selbstschmierender Gleitringdichtung und Lastübertragungselement [FI-Forsh] |
Image 1.8-23:
Sandgefülltes elastomeres Lastübertragungselement in Anlehnung an [FI-Prinz] [Quelle: STEIN Ingenieure GmbH] |
Image 1.8-24:
Schachtabdichtung und Lastübertragungsring aus Elastomerwerkstoff (Twinseal) in Anlehnung an [FI-Forsh] [Quelle: STEIN Ingenieure GmbH] |
Image 1.8-25:
Schachtabdichtung und Lastübertragungsring aus Elastomerwerkstoff (Twinseal) in Anlehnung an [FI-Forsh] [Quelle: STEIN Ingenieure GmbH] |
