Anschlüsse für Be- und Entlüftung sowie Lampenlöcher
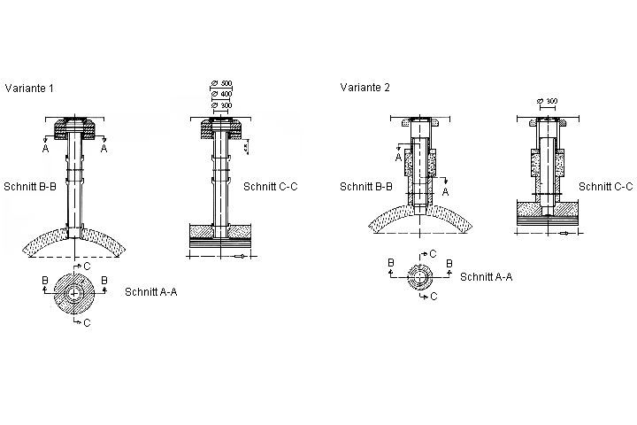
Bild 1.10-1:
Entlüftungsvarianten für Beton- bzw. Stahlbetonkanäle [Schaa96] [ATVA2411:1978] |
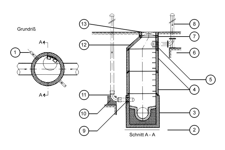
Bild 1.10-2:
Kontrollschacht mit Lüftungsanschluß [ATV95b] |
Bild 1.10-3:
Lampenloch [Braub25] |
Die Notwendigkeit der Be- und Entlüftung von Kanalisationen begründete König im Jahre 1902 [König02a] wie folgt: "Sowohl in gesundheitlicher Beziehung, als auch mit Rücksicht auf ungestörten Betrieb eines Kanalnetzes ist ausreichender Luftwechsel innerhalb desselben unerläßlich; die ständige Lufterneuerung in den Kanälen ist schon wegen der Oxidation der an den Kanalwänden haftenden Unratsstoffe von günstiger Bedeutung."
Anfangs hat man die in den Abwasserkanälen befindliche, mehr oder weniger verunreinigte Luft soweit wie möglich abgesperrt und sie auch daran gehindert, in die Hausanschlüsse einzutreten. Ihre Ableitung erfolgte an einzelnen Stellen über sogenannte Lüftungstürme (Lüftungsschlote), die oftmals auch mit einem sogenannten Lockfeuer versehen waren. Diese in England und Nordamerika weit verbreitete Art der Lüftung kam in Deutschland nur vereinzelt vor und wurde in diesem Jahrhundert kaum noch angewendet.
Statt dessen setzte man auf eine Lüftung, die an vielen Stellen eine beständige Erneuerung und Bewegung der Kanalluft bewirkte [Braub25] .Hierfür nutzte und nutzt man auch noch heute die Hausanschlüsse, Hausentlüftung, aber auch die Schächte durch Einbau von Schachtabdeckungen mit Entlüftungsöffnungen. Im Bedarfsfall wurden spezielle Lüftungsrohre in der Regel in den Drittelspunkten der Haltungen angeordnet, die entweder an der Geländeoberkante enden oder als Steigrohre an Masten, Plakatsäulen usw. geführt werden. Diese Variante nutzt z.B. die Stadt Köln bis heute bei Beton- und Stahlbetonkanälen (Bild 1.10-1) mit dem Nebeneffekt, daß der Schadensfall Korrosion dort praktisch nicht auftritt.
In den Fällen, in denen Schachtabdeckungen ohne Lüftungsöffnungen verwendet werden müssen, kann die oben angeführte Lösung auch auf das Schachtbauwerk übertragen werden (Bild 1.10-2) .
Bei Kanalisationen aus dem vergangenen Jahrhundert kann man manchmal noch sogenannte Lampenlöcher antreffen, die zwischen zwei Schächten im Scheitel der Kanalhaltung eingebunden sind (Bild 1.10-3) . Sie ersetzten jeweils einen Schacht und dienten zum Herunterlassen einer Lampe, wenn von dem benachbarten Schacht aus der Zustand des Kanals mittels Spiegelung (Abschnitt 4.3.2.1.2) untersucht werden sollte.
