Unterdruckentwässerungssysteme
|
Bild 6.2.2.5.4-1:
Schema eines Unterdruckentwässerungssystems - Lageplan [ATVA116] |
|
Bild 6.2.2.5.4-2:
Schema eines Unterdruckentwässerungssystems - Längsschnitt [DINEN1091]
|
|
Bild 6.2.2.5.4-3:
Schema eines Hausanschlusses in einem Unterdruckentwässerungssystem [DINEN1091] |
|
Bild 6.2.2.5.4-4:
Ausbildung von Hausanschlussschächten [DINEN1091] - mit Sammelraum, dessen Volumen teilweise im Zulauf liegt |
|
Bild 6.2.2.5.4-5:
Ausbildung von Hausanschlussschächten [DINEN1091] - mit getrenntem Sammelraum und Ventilschacht |
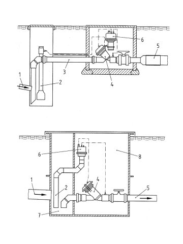
Ein Unterdruckentwässerungssystem nach DIN EN 1091 [DINEN1091] (in der Praxis auch als Vakuumsystem bezeichnet [Grüne93]) ist ein System zum Fördern von häuslichem Schmutzwasser durch eine einzelne Unterdruckleitung oder ein aus Unterdruckleitungen bestehendes Verästelungsnetz (Abschnitt 1.1.1) mit am Beginn der Unterdruckleitungen in Hausanschlussschächten angeordneten Absaugventilen. Die Unterdruckleitungen münden in die Unterdruckstation, von wo aus das Schmutzwasser im allgemeinen mittels Pumpen z.B. zur Kläranlage abgefördert wird (Bild 6.2.2.5.4-1) (Bild 6.2.2.5.4-2).
Die Unterdruckstation, auch als Vakuumstation [ATVA116] bezeichnet, ist ein "Bauwerk einschließlich Unterdruckerzeuger, Unterdruckbehälter (oder Pumpensaugräume), Abfördereinrichtungen und Steuerungseinrichtungen" [DINEN1091].
Das häusliche Schmutzwasser wird zunächst über eine als Freispiegelleitung betriebene Grundleitung (hier als Schwerkraftentwässerungsleitung bezeichnet) (Abschnitt 1.1.4.1) vom Gebäude in den Hausanschlussschacht geleitet (Bild 6.2.2.5.4-3).
Der Hausanschlussschacht beinhaltet sowohl den Sammelraum als auch den Schacht für ein Absaugventil [DINEN1091]. Dabei sind unterschiedliche Ausführungsvarianten möglich. Beispiele zeigen (Bild 6.2.2.5.4-4) und (Bild 6.2.2.5.4-5).
"Wenn das in einen Sammelraum eines Hausanschlussschachtes abgeleitete häusliche Schmutzwasser ein bestimmtes Volumen und damit einen bestimmten Füllstand erreicht, wird das üblicherweise geschlossene Absaugventil geöffnet. Der zwischen der umgebenden Atmosphäre und dem Unterdruckkanal herrschende Differenzdruck drückt das Schmutzwasser aus dem Sammelraum (Anmerkung: über die Hausanschlussleitung) in den Unterdruckkanal. Nachdem der Sammelraum geleert ist, wird das Absaugventil wieder geschlossen. Zugleich mit dem Schmutzwasser oder nach dem Schmutzwasser wird Luft eingesaugt. Das Schmutzwasser wird im Unterdruckkanal von der Luft in Richtung zur Unterdruckstation getrieben, bis es eventuell durch Reibungs- und Gewichtskräfte an Tiefpunkten des Höhenprofils zur Ruhe gelangt" [DINEN1091].
Der Transport des Schmutzwassers erfolgt auf der Basis einer sogenannten Pfropfenströmung durch weitgehende Trennung von Luft und Wasser.
Bezüglich der Rohrleitungen in einem Unterdruckentwässerungssystem unterscheidet man nach DIN EN 1091 [DINEN1091] zwischen:
-
Unterdruckleitung:
Gesamte unter Unterdruck stehende Rohrleitung. -
Unterdruckkanal:
Teil einer Unterdruckleitung, in die Hausanschlussleitungen münden. -
Hausanschlussleitung:
Einen einzelnen Hausanschlussschacht mit dem Unterdruckkanal verbindender Teil der Unterdruckleitung.
Das Unterdruckentwässerungssystem muss so ausgelegt sein, dass im Ruhezustand ein Mindestunterdruck von 0,25 bar herrscht. Wo nationale oder örtliche Vorschriften die Entsorgung von Grobstoffen über die Kanalisation verbieten, beträgt dieser Mindestunterdruck 0,2 bar [DINEN1091].
Die Unterdruckleitungen und zugehörigen Formstücke bestehen derzeit aus dem Werkstoff PVC-U und sind für einen Unterdruck von 0,6 bar zu bemessen.
Die Mindestnennweite beträgt gemäß DIN EN 1091 [DINEN1091] für Hausanschlussleitungen DN/ID 50, für Unterdruckkanäle DN/ID 65, wenn die Einleitung grober Feststoffe in die Kanalisation durch nationale oder örtliche Vorschriften untersagt ist; ansonsten gilt als Mindestnennweite DN/ID 80.
Unterdruckleitungen werden frostfrei verlegt.
Das Höhenprofil der Unterdruckleitungen muss einen selbstreinigenden Durchfluss ermöglichen sowie Feststoffablagerungen und ein Zurückströmen des Schmutzwassers verhindern.
Aus diesem Grund müssen Unterdruckkanäle ein Mindestgefälle von 1:500 besitzen.
Wenn das Gelände in Fließrichtung ein Gefälle von mindestens 1:500 aufweist, kann der Unterdruckkanal parallel zum Gelände mit demselben Gefälle verlegt werden (Bild 6.2.2.5.4-6).
In flachem oder ansteigendem Gelände wird das Mindestgefälle der Unterdruckkanäle durch künstliche Anstiege (Höhendifferenz der Rohrsohlen) realisiert (Bild 6.2.2.5.4-7). Die Höhe der einzelnen Anstiege sollte so gering wie möglich gehalten werden und 1,5 m nicht überschreiten, so dass sich der Unterdruck verlustarm ausbreiten kann. Mehrere kleine Anstiege sind einem großen vorzuziehen. Der Abstand zwischen diesen Anstiegen bzw. Tiefpunkten sollte mindestens 6 m (Bild 6.2.2.5.4-8) und maximal 30 m, bei Hausanschlussleitungen 1,5 m betragen [DINEN1091].
|
Bild 6.2.2.5.4-6:
Verlegung eines Unterdruckkanals parallel zum Geländeverlauf [DINEN1091] |
Bild 6.2.2.5.4-7:
Verschiedene Höhenprofile von Unterdruckkanälen bei flachem Gelände [DINEN1091] |
Bild 6.2.2.5.4-8:
Beispiele für einen Unterdruckkanal in ansteigendem Gelände [DINEN1091] |
Abweichungen vom Gefälle bei der Bauausführung dürfen keinen Rückfluss verursachen.
Ist z.B. das Gefälle der Unterdruckleitungen geringer ist als 1:150, darf die vertikale Abweichung vom Höhenprofil nicht mehr als + 12 mm betragen. Diese Toleranzen müssen bei der Wahl des Verfahrens zur grabenlosen Verlegung der Leitungen unbedingt berücksichtigt werden.
Die Unterdruckentwässerung ist nicht geeignet, Schmutzwasser über längere Entfernungen als 2 km bis 3 km in jeder Richtung von der Unterdruckstation aus zu transportieren [Jedli96].
"Einrichtungen zum Absperren von Abschnitten der Unterdruckkanäle müssen in Abständen von höchstens 450 m und zum Absperren einmündender Nebenstränge bei einer Länge der Nebenstränge von über 200 m vorgesehen werden, um die Ortung und Reparatur von Schäden zu ermöglichen" [DINEN1091].
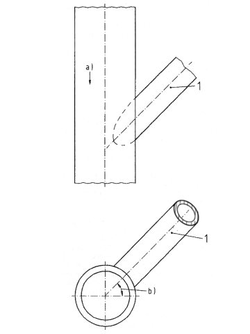
"Alle Nebenstränge müssen in Hauptstränge oberhalb der Horizontalachse spitzwinklig einmünden, so dass sichergestellt ist, dass das Schmutzwasser aus dem Nebenstrang im Hauptstrang vorwiegend in Richtung Unterdruckstation weiterfließt und Rückflüsse verhindert werden. Zwischen Verzweigungen und Anstiegen muss der Abstand mindestens 2 m betragen" (Bild 6.2.2.5.4-9) [DINEN1091].
Zur Unterstützung der Inspektions- und Wartungsarbeiten dienen Inspektionsrohre, deren Anordnung in Abhängigkeit der jeweiligen Linienführung (Bild 6.2.2.5.4-10) zeigt. In der Regel sollten nach ATV-A 116 [ATVA116] Inspektionsrohre an jedem 2. Tiefpunkt installiert werden.
|
Bild 6.2.2.5.4-9:
Verzweigung von Unterdruckkanälen [DINEN1091] |
Bild 6.2.2.5.4-10:
Unterdruckkanal mit Inspektionsrohren [DINEN1091] |
