Laser
Meßanordnung zur Bestimmung von Richtungsabweichungen mittels Laser und Lochscheibe [NN86d]
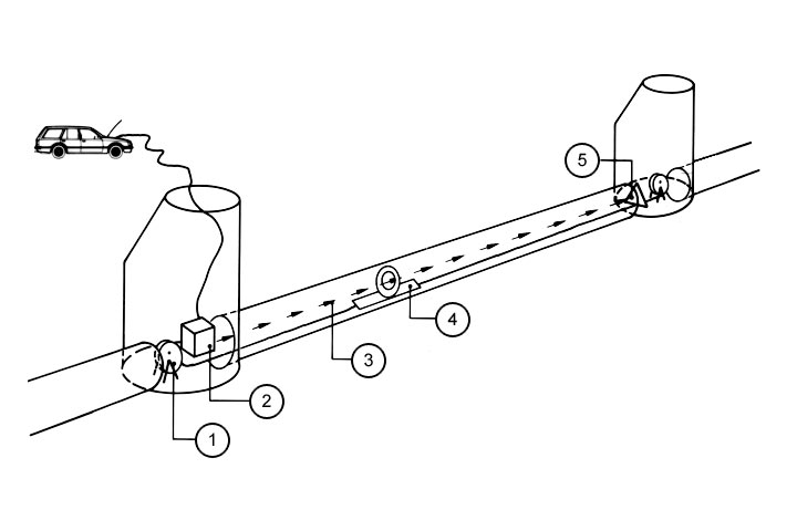
Mit den bei der Rohrverlegung zur Lagekontrolle eingesetzten Baulasern kann auch die Lage bestehender, geradliniger Abwasserleitungen und -kanäle in horizontaler und vertikaler Richtung bestimmt werden.
Für diesen Zweck wird der Laser an einem Haltungsende, z.B. im Einsteigschacht, positioniert und zunächst mit Hilfe einer am anderen Ende der Haltung befindlichen Kontrolltafel ausgerichtet.
Zur eigentlichen Lagemessung wird eine Zieltafel durch die entsprechende Leitung gezogen oder gefahren, wobei drei Varianten denkbar sind:
Horizontal und vertikal definiert verstellbare Lochscheibe. Sie wird an den einzelnen Meßpunkten ferngesteuert so ausgerichtet, daß der Laserstrahl die Lochscheibe passieren kann (Image 4.3.2.2.2.3-1) . Die jeweils erforderlichen Verstellwege werden meßtechnisch erfaßt.
Übertragung der Bilder einer passiven Zieltafel mit Hilfe einer Fernsehkamera auf einen Monitor.
Ausrüstung der Zieltafel mit Fotodioden und damit Schaffung einer aktiven Zieltafel. Das auf die aktive Zieltafel auftreffende Laserlicht wird von den Dioden in elektrische Signale umgewandelt, wobei die Lage und die Anzahl der aktivierten Dioden dann an beliebiger anderer Stelle über einen Monitor oder ein Leuchtfeld reproduziert werden können. Mit Hilfe eines Rechners kann der Schwerpunkt des Zielpunktes ermittelt werden (Image 4.3.2.2.2.3-2) (Image 4.3.2.2.2.3-3) (Image 4.3.2.2.2.3-1) (Image 4.3.2.2.2.3-2) (Image 4.3.2.2.2.3-3) .
Bei allen drei Varianten kann der zurückgelegte Weg anhand eines mit der entsprechenden Kabeltrommel gekoppelten Zählwerkes mechanisch gemessen werden.
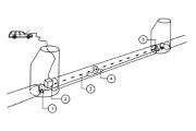
Image 4.3.2.2.2.3-2:
Feststellung von Lageabweichungen mit Laser und aktiver Zieltafel: Halterung der Zieltafel [FI-Iseki90] |
Image 4.3.2.2.2.3-3:
Feststellung von Lageabweichungen mit Laser und aktiver Zieltafel: Blick auf die Zieltafel (Iseki Poly-Tech) [FI-Iseki90] |
Das so gewonnene Datenmaterial wird in einem Haltungslängsschnitt getrennt für horizontale und vertikale Abweichungen von der Sollage dargestellt.
Im hier betrachteten Anwendungsfall wird der Lichtstrahl durch Luftschichten geführt, die unterschiedliche Temperaturen haben. Die sich daraus ergebenden Grenzschichten innerhalb der Luftsäule in der Haltung führen zu Ablenkungen des Lichtstrahls. Temperaturdifferenzen können im Rohrstrang, insbesondere beim Durchqueren eines Zwischenschachtes sowie zwischen dem Rohrstrang und dem Einsteigschacht auftreten.
Diesbezügliche Untersuchungen durch H.-J. Collins [Colli83] [Hambu85b] haben folgende Fehlermöglichkeiten für den Laser gezeigt:
- Eine Temperaturdifferenz der Luft zwischen Kanal und Schacht von etwa 4° C im Bereich des Lasers ergaben bei diesen Untersuchungen eine Abweichung von bis zu 40 mm bei einer Zielstrahllänge von 120 m.
- Mit größer werdender Entfernung zwischen dem Laser und der Zieltafel vergrößert sich der Strahlquerschnitt. Dies wird verursacht durch
- die durch die Laserröhre sowie der vorgeschalteten Optik vorgegebene Strahldivergenz,
- schnelle Strahlablenkungen infolge von Luftturbulenzen,
- Streuung an Partikeln, die in der Luft enthalten sind.
Die exakte Erfassung des Laserstrahlschwerpunktes ist dadurch erschwert.
Einen Einfluß der Temperaturdifferenz zwischen der Rohrwandung und der Luft innerhalb der Rohrleitung auf die Ablenkung eines Laserstrahls stellten R. Devery und Th. Gilmartin [Dever85] fest. Diesem Einfluß kann begegnet werden z.B. durch den Einsatz eines Ventilators während der Messungen.
Die passive oder aktive Zieltafel sollte so groß wie möglich sein, um einen weiten Bereich von Lageabweichungen erfassen zu können.
Das System benötigt mindestens einen Inklinometer zur Korrektur von Verrollungsfehlern. Eine - in der Praxis nicht vermeidbare - schräge Lage der Zieltafel im Rohr führt sonst zur Fehlinterpretation der gewonnenen Daten [Stein86b] .
Bei der Vermessung von Kanälen, deren Sohle nicht mehr intakt ist bzw. nicht mehr existiert, ergeben sich bei allen erläuterten Meßverfahren Schwierigkeiten bei der Interpretation der Daten. Hier hilft nur eine zusätzliche, gleichzeitige Vermessung des Rohrquerschnittes.
